
时间定了!昆山油价马上调整,大家又能省钱了
油价又要降啦
有望迎来今年油价第5跌
大家又能省钱了!
好消息!好消息!
国内油价有望迎来下调
预计或跌0.04-0.05元/升
车主加满一台50升油箱的小汽车
将节省2-2.5元左右!
↓
本轮油价10个工作日的统计周期,到现在已经进行了6个工作日的统计,目前原油变化率:-1.15%,预计下调油价50元/吨,折合升计算,就是预计下跌油价0.04-0.05元/升的幅度。
今年以来
国内油价已经历14次调整
呈现7涨4跌3搁浅
⛽
想给车加油的小伙伴
可以再等等!
本周四(25日)晚24点
油价大概率下调!
除了油价
大家关心的这些也传出新消息
事关你的钱袋子
一起来看看

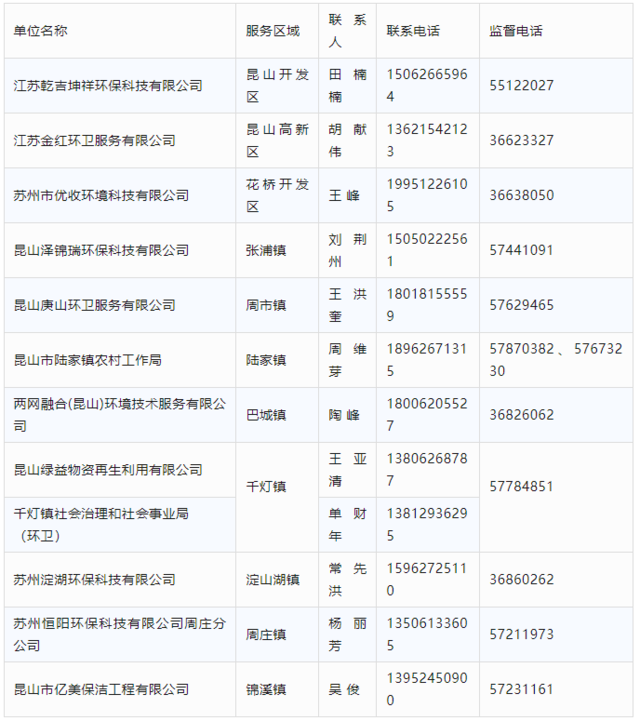
就在本周
大件垃圾
免费集中清运来啦!
苏州市城管局将每月最后一个周日确定为大件垃圾免费集中清运日。本月7月28日为大件垃圾免费集中清运日,本周五(7月26日)9:00~17:00接受预约,暂不接受其他时段(包括活动当天)预约。
免费集中清运活动目前只针对居民个人,不涵盖企事业单位。免费部分指大件垃圾从收集点到处置点的清运及后续处置费用,居民从家中搬运至收集点由居民自行负责并承担相应费用。
注:周末若遇到强降雨等恶劣天气,实际收运时间往后顺延
昆山有大件垃圾需要处理的
记好预约时间
暂时没有的,也别忘收藏
以备不时之需
昆山这笔补助费,涨了!
根据
关于调整2024年苏州市生育保险
一次性营养补助标准的通知
自2024年7月1日起
一次性营养补助调整为2775元
与产前检查、生育医疗费用相比
一次性营养补助的
区别在哪里?
👇
一次性营养补助有条件限制。享受生育的医疗费用待遇的在职职工、领取失业保险金人员,生育分娩或妊娠满7个月**的,可以享受一次性营养补助。也就是:只有在单位上班的职工和领取失业金人员,妊娠满7个月以上的,才有一次性营养补助。
具体发放时间也有不同。在职职工在其生育津贴拨付之月,领取失业保险金人员在其医保经办机构与定点医疗机构结付其生育的医疗费用的次月支付。
与生育津贴发放至参保单位对公账户不同,一次性营养补助直接发放到参保人员本人社会保障卡金融账户中。
跌了!跌了!
就在这几天
国际金价在经过高位盘整暴涨后
“金价终于跌了”
据央视财经,当地时间周四,受美国大选选情、投资者获利了结和美债收益率回升等因素综合影响,美国三大股指全线收跌。
股市流出资金主要涌向美元和债市,美元走强和美债收益率回升令金价承压,国际金价周四下跌。截至收盘,纽约商品交易所8月黄金期价收于每盎司2456.4美元,跌幅为0.14%。
7月21日
国内多家品牌零售金价均有小幅度下降
以周大福为例
今日挂牌为739元/克
最新消息!
又一批车辆
可减免车船税、购置税了
🚗
7月10日,工信部公布新一批《道路机动车辆生产企业及产品》、减免车辆购置税的新能源汽车车型等目录,其中减免车辆购置税的新能源汽车车型目录(第七批)涉及蔚来L60、岚图梦想家、精灵#5、领克Z10、零跑C11、五菱星光S、小鹏M03、哪吒S、HyperHT等81款乘用车。
减免车辆购置税的
新能源汽车车型目录(第七批)
纯电动汽车-乘用车车型如下
↓
点击图片放大查看
这些价格调整
哪个对你影响最大?
留言说说吧~