夜间模式
  • 16756阅读
  • 8回复

[昆山要闻]@昆山人 乘坐轨交/公交,这些优惠政策你知道了吗? [复制链接]

上一主题 下一主题
美女离线媛若惜
发帖
3714
昆币
63733 枚
只看楼主 使用道具 电梯直达
楼主  发表于: 2024-07-03 , 来自:江苏省0==

轨道连沪通苏

公交走街串巷

绿色出行服务越来越完善

在昆山乘坐轨交、公交

主打的就是一个实惠

不知道这些省钱攻略

你可就太亏啦!



图片



附表

图片


温馨提示:苏州市区发行的市民卡、交通卡、第三代社保卡,在昆山公交享受与苏州市区同等优惠政策,并且乘坐昆山公交享受换乘优惠。




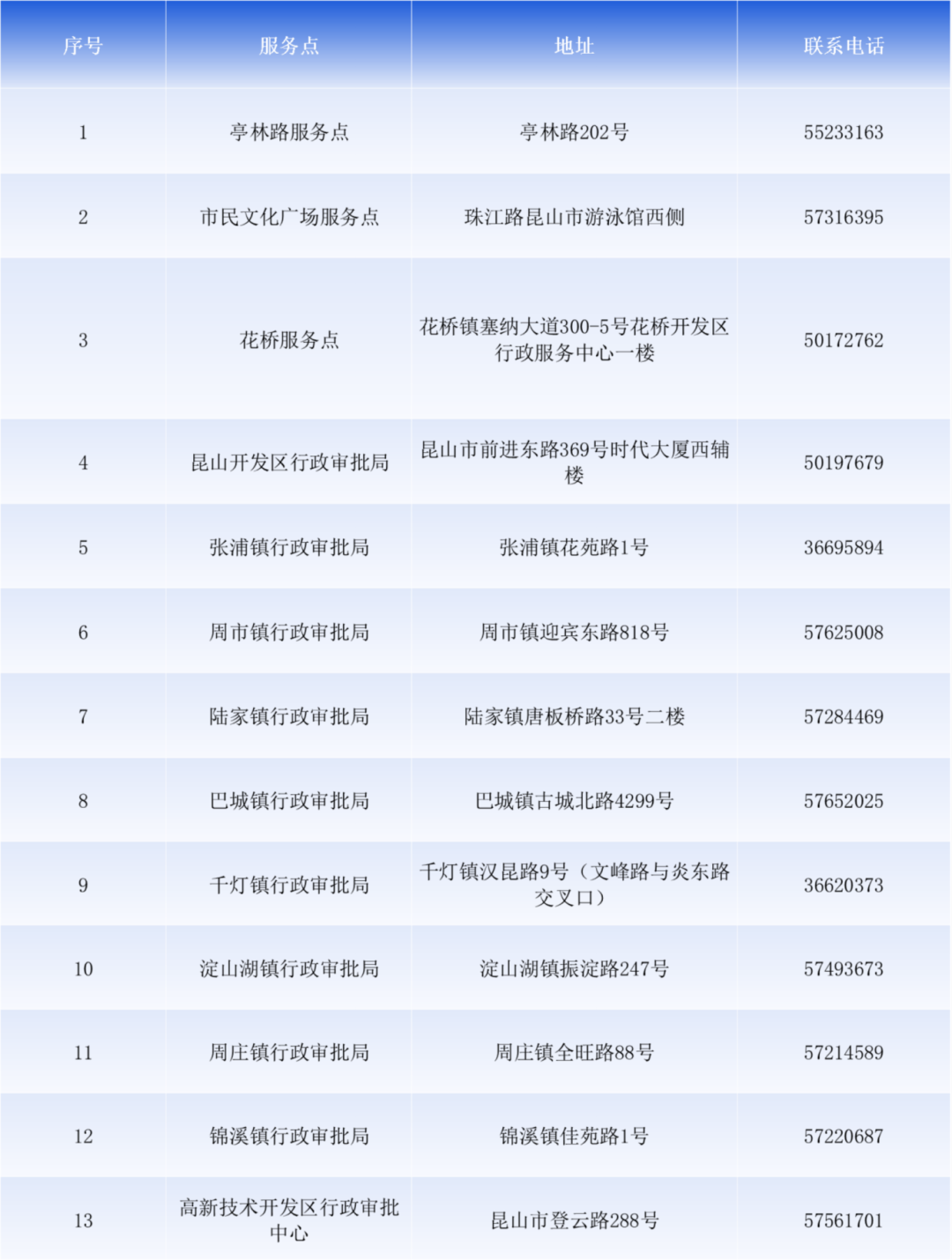
公交便民服务中心点位

图片


来源| 昆山市交通运输局


爆料有奖!关注昆山论坛抖音号,抖音搜索“昆山论坛”,或搜索抖音号:ksbbs
 
美女在线大乌鸦
级别: 昆山名人

发帖
29953
昆币
152 枚
爆料
1
沙发  发表于: 2024-07-03 , 来自:江苏省0==
市民卡去哪里充值才能坐公交?
爆料有奖!关注昆山论坛抖音号,抖音搜索“昆山论坛”,或搜索抖音号:ksbbs
 
在线jauntyhu
发帖
1187
昆币
1805 枚
板凳  发表于: 2024-07-03 , 来自:江苏省0==
鹿路通不能刷地铁。APP打通很难吗?
楼中楼
  • 2024-07-03 10:02 羊饭饭: 很难,不同部门、不同财务管理系统、不同国家补贴、不同的领导
爆料有奖!关注昆山论坛抖音号,抖音搜索“昆山论坛”,或搜索抖音号:ksbbs
 
离线论天下
发帖
9766
昆币
38096 枚
爆料
1
地板  发表于: 2024-07-03 , 来自:江苏省0==
微信和支付宝都不在优惠之列
爆料有奖!关注昆山论坛抖音号,抖音搜索“昆山论坛”,或搜索抖音号:ksbbs
 
帅哥离线开心就好11
级别: 昆山新人
发帖
202
昆币
614 枚
4楼 发表于: 2024-07-03 , 来自:江苏省0==
苏州公交换乘昆山公交或昆山公交换乘苏州公交,有没有优惠??
爆料有奖!关注昆山论坛抖音号,抖音搜索“昆山论坛”,或搜索抖音号:ksbbs
 
帅哥在线老老张
发帖
4043
昆币
7259 枚
5楼 发表于: 2024-07-03 , 来自:江苏省0==
惠民政策很好,具体问题不少。例如,我刚充了一百元加上原来余额共有130元左右,不慎把公交卡丢了,补办工本20元,原卡余额还不能转新补卡上,理由是人家持卡来退,要给退款。想不通,办卡要身份证,难道退钱就不需要身份证明?一次就把不知多少优惠没了。
本帖评分记录
王小亮先森 昆币 +1 -来自昆山论坛APP 2024-07-03
1条评分昆币+1
爆料有奖!关注昆山论坛抖音号,抖音搜索“昆山论坛”,或搜索抖音号:ksbbs
 
离线qianboy2002
发帖
2335
昆币
5992 枚
爆料
1
6楼 发表于: 2024-07-03 , 来自:江苏省0==
回 老老张 的帖子
老老张:惠民政策很好,具体问题不少。例如,我刚充了一百元加上原来余额共有130元左右,不慎把公交卡丢了,补办工本20元,原卡余额还不能转新补卡上,理由是人家持卡来退,要给退款。想不通,办卡要身份证,难道退钱就不需要身份证明?一次就把不知多少优惠没了。 (2024-07-03 11:16)

主要原因是这个钱被充值到那张卡上了,别人捡了就能直接刷卡用的。
这种卡不能做到银行卡那个等级,钱是在银行而不是在卡上,卡只是个窗口。
爆料有奖!关注昆山论坛抖音号,抖音搜索“昆山论坛”,或搜索抖音号:ksbbs
 
离线qianboy2002
发帖
2335
昆币
5992 枚
爆料
1
7楼 发表于: 2024-07-03 , 来自:江苏省0==
有人知道 苏州市民卡B卡,可以在昆山做公交吗?
爆料有奖!关注昆山论坛抖音号,抖音搜索“昆山论坛”,或搜索抖音号:ksbbs
 
在线cike
发帖
18576
昆币
26531 枚
8楼 发表于: 2024-07-03 , 来自:江苏省0==
政策蛮好,轨道11号线建设完了,配套轨道11号线的接驳公交线路也设置了,但是有些真的设置的很不合理,建议交通局还是要多调研实地走访需求了进行调整公交线路
爆料有奖!关注昆山论坛抖音号,抖音搜索“昆山论坛”,或搜索抖音号:ksbbs
 
快速回复
限76 字节
如果您在写长篇帖子又不马上发表,建议存为草稿
 
上一个 下一个