夜间模式
  • 16091阅读
  • 0回复

[昆山要闻]最新最全!事关昆山地铁乘坐 [复制链接]

上一主题 下一主题
美女离线你听我说
发帖
3747
昆币
129485 枚
只看楼主 使用道具 电梯直达
楼主  发表于: 2024-07-04 , 来自:江苏省0==

继11/3号线全线双向贯通后

苏州轨交6号线

也开通运营啦!


虽然该条路线不在昆山市域

但其作为“最美园林线”

经过多个景点且方便换乘

大大方便了昆山小伙伴

去苏州旅游、就医…


图片


图片
“最美园林线”6号线开通运营!
图片


近日

大家期待已久的

“最美园林线”6号线也通车啦


图片


6号线为深度提取苏州地域文化

采用了独特的“一站一标”式设计

每个车站都根据

车站主题、历史文化、地理位置等信息

设计了独一无二的站标


图片


作为旅游线的6号线

串联起了虎丘、拙政园、苏州博物馆、

狮子林、苏州大学、观前街、

李公堤、奥体中心等众多文化地标

没有去过这些景点的小伙伴

赶紧“特种兵式打卡”安排上


图片


而且6号线与

1、2、3、4、5、7、8号线

均可换乘

这就意味着

昆山的小伙伴前往

苏大儿童医院总院、苏大附一院等地

可全程坐地铁到达


图片


比如在江浦站附近的市民

想去苏大附一院十梓街院区

打车的话需要80元左右

(路程约50分钟)

乘坐11号线转3号线(无需下车)

到李公堤西站转6号线(站内换乘)

望星桥苏大站下

步行200多米即达

(路程约1小时9分钟)

仅需7元!

用时接近且更省钱!

(堵车时,可能地铁更快)

这也太香了~

图片


不仅如此

坐地铁还有不少优惠政策

现实中,不到7元就可达到

那你知道

有哪些地铁、公交乘坐优惠呢?


图片
昆山地铁、公交乘坐优惠来了!
图片


不知不觉

昆山通地铁已有一周年啦

地铁等公共交通的不断完善

更加方便了我们的日常出行

在昆山乘坐轨交、公交

主打的就是一个实惠

不知道下面这些省钱攻略

你可就太亏啦!



图片



附 表

图片



温馨提示:苏州市区发行的市民卡、交通卡、第三代社保卡,在昆山公交享受与苏州市区同等优惠政策,并且乘坐昆山公交享受换乘优惠。




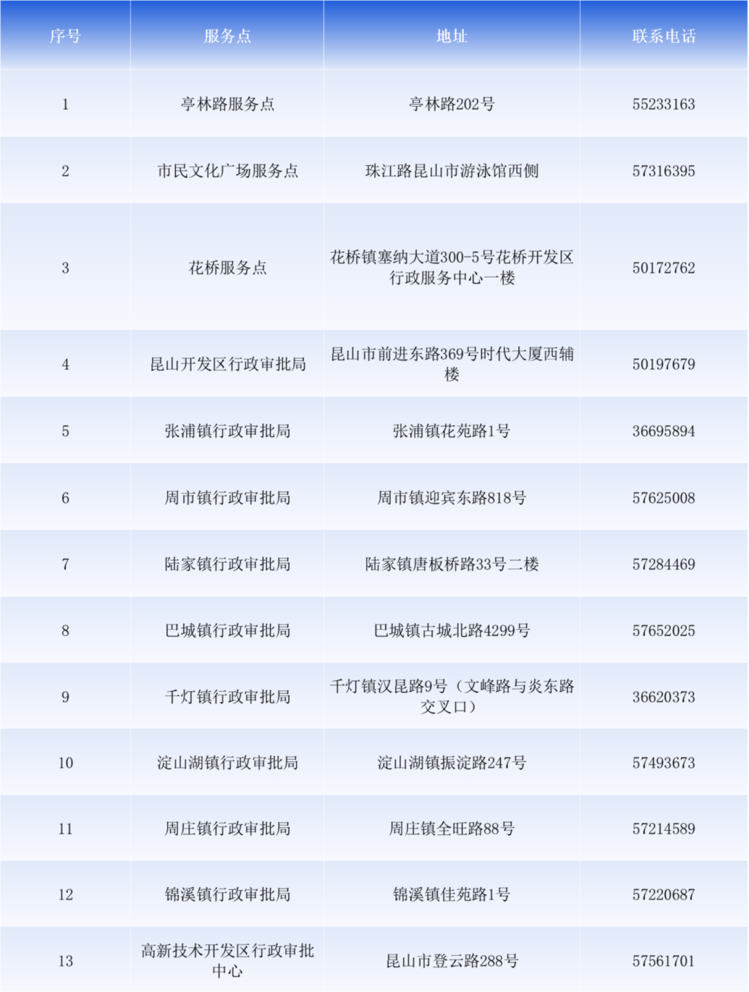
公交便民服务中心点位

图片


快放到圈子里

让更多人知道这些优惠!


本帖评分记录
心情24小时 昆币 +1 -来自昆山论坛APP 2024-07-22
丹丹公举 昆币 +1 -来自昆山论坛APP 2024-07-05
2条评分昆币+2
爆料有奖!关注昆山论坛抖音号,抖音搜索“昆山论坛”,或搜索抖音号:ksbbs
 
快速回复
限76 字节
批量上传需要先选择文件,再选择上传
 
上一个 下一个